লেখক:সাইট সম্পাদক প্রকাশের সময়: 2026-04-23 উত্স:সাইট
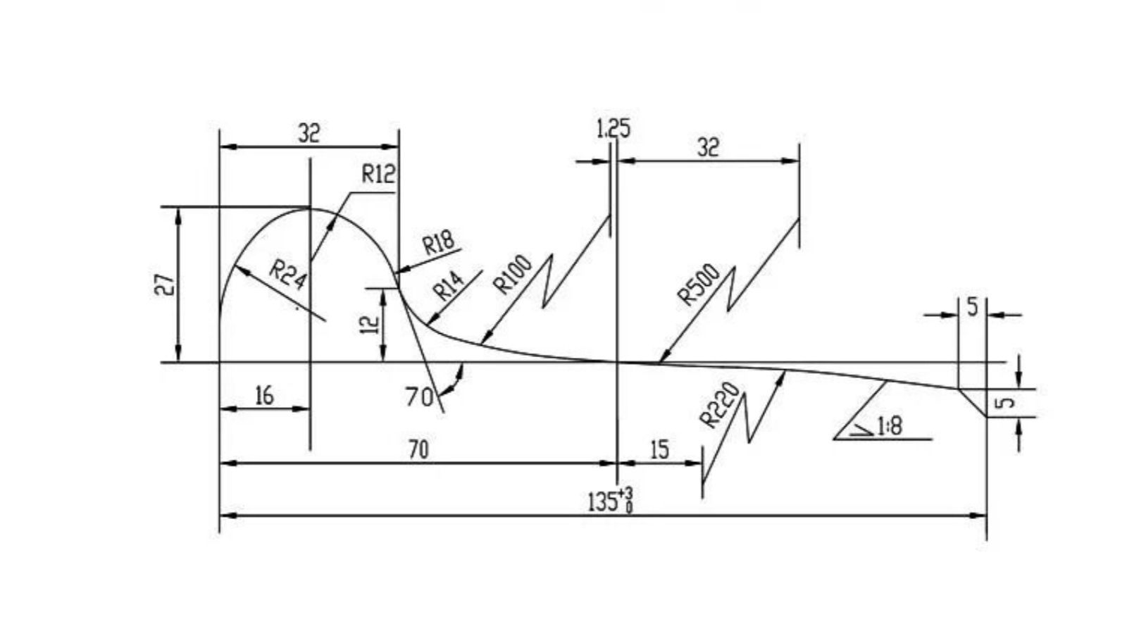
রেলওয়ের চাকার ফ্ল্যাঞ্জ এবং ট্রেড প্রোফাইলের নকশা নিরাপদ এবং দক্ষ ট্রেন পরিচালনা নিশ্চিত করতে একটি গুরুত্বপূর্ণ ভূমিকা পালন করে। একটি ভালভাবে মিলে যাওয়া চাকা-রেল যোগাযোগের জ্যামিতি শুধুমাত্র পরিধান এবং চাপ কমায় না বরং সামগ্রিক চলমান স্থিতিশীলতা এবং বক্ররেখা আলোচনার কর্মক্ষমতাও উন্নত করে।
হুইল ট্রেড প্রোফাইল ডিজাইন করার সময়, রেল হেড আকৃতির সাথে সঠিক সামঞ্জস্য নিশ্চিত করা অপরিহার্য। একটি আদর্শ চাকা-রেল ইন্টারফেস কার্যকরভাবে যোগাযোগের চাপ কমাতে পারে এবং পরিধান কমাতে পারে, যা সরাসরি এতে অবদান রাখে:
· বক্ররেখার মধ্য দিয়ে যাওয়ার সময় উন্নত কর্মক্ষমতা
· হ্রাস রক্ষণাবেক্ষণের ফ্রিকোয়েন্সি এবং খরচ
· ট্রেনের স্থিতিশীলতার জন্য গুরুত্বপূর্ণ গতি বৃদ্ধি
উপরন্তু, নতুন ডিজাইন করা ট্রেড প্রোফাইল বাস্তব অপারেটিং অবস্থার মধ্যে জীর্ণ প্রোফাইলের সাথে ঘনিষ্ঠভাবে মেলে। এটি পুনঃপ্রোফাইলিংয়ের সময় ধাতু অপসারণের পরিমাণ কমাতে সাহায্য করে, যার ফলে চাকার পরিষেবা জীবন বাড়ানো হয় এবং রক্ষণাবেক্ষণের খরচ কম হয়।

ফ্ল্যাঞ্জ একটি মূল নিরাপত্তা বৈশিষ্ট্য যা লাইনচ্যুত হওয়া প্রতিরোধ করে। এর উচ্চতা এবং জ্যামিতি অবশ্যই সাবধানে নিয়ন্ত্রণ করতে হবে:
· ফ্ল্যাঞ্জের উচ্চতা: সাধারণত 26 মিমি এবং 30 মিমি এর মধ্যে থাকে
· খুব কম: লাইনচ্যুত হওয়ার ঝুঁকি বাড়ায়
· খুব বেশি: ফিশপ্লেট বোল্ট বা কাঁধের মতো রেলের উপাদানগুলিতে হস্তক্ষেপ হতে পারে, বিশেষ করে যখন ট্রেড পরিধান উল্লেখযোগ্য হয়
টার্নআউটের মধ্য দিয়ে নিরাপদ উত্তরণের জন্য, ছোট চাকার ব্যাসের জন্য সাধারণত উচ্চতর ফ্ল্যাঞ্জ উচ্চতার প্রয়োজন হয়।
ফ্ল্যাঞ্জ কোণটিও গুরুত্বপূর্ণ। ফ্ল্যাঞ্জের বাইরের পৃষ্ঠটি অবশ্যই অনুভূমিক সমতলের সাথে একটি উপযুক্ত কোণ বজায় রাখতে হবে:
· কোণ খুব ছোট: চাকা আরোহনের উচ্চ ঝুঁকি (কম গতিতে লাইনচ্যুত)
· কোণ খুব বড়: পুনঃপ্রোফাইলিংয়ের সময় মেশিন অপসারণ বাড়ায় এবং আক্রমণ কোণ পরিস্থিতিতে ফ্ল্যাঞ্জ টপ এবং রেলের মধ্যে যোগাযোগ ঘটাতে পারে

ট্রেড প্রোফাইলটি মূলত চাকার কাঠামোগত নকশার পরিবর্তে ট্র্যাকের অবস্থা এবং ট্রেনের অপারেটিং গতি দ্বারা নির্ধারিত হয়। যখন ট্র্যাক অবকাঠামো বা অপারেটিং গতিতে কোন উল্লেখযোগ্য পরিবর্তন না হয়, তখন ট্রেড প্রোফাইল সাধারণত অপরিবর্তিত থাকে-এমনকি যদি চাকা কাঠামো পরিবর্তন করা হয়।
বেশিরভাগ ক্ষেত্রে, রেলওয়ে সিস্টেম জুড়ে সামঞ্জস্য এবং নির্ভরযোগ্যতা নিশ্চিত করার জন্য প্রমিত ট্রেড প্রোফাইলগুলি গ্রহণ করা হয়।
রেলওয়ে হুইল ফ্ল্যাঞ্জ এবং ট্রেড প্রোফাইল ডিজাইন ট্রেনের নিরাপত্তা এবং কর্মক্ষমতার একটি গুরুত্বপূর্ণ দিক। চাকা-রেল মিথস্ক্রিয়া অপ্টিমাইজ করে, ফ্ল্যাঞ্জের মাত্রা নিয়ন্ত্রণ করে, এবং বাস্তব অপারেটিং অবস্থার সাথে ট্রেড ডিজাইন সারিবদ্ধ করে, রেলওয়ে অপারেটররা উল্লেখযোগ্যভাবে অপারেশনাল দক্ষতা বাড়াতে, পরিধান কমাতে এবং সামগ্রিক নিরাপত্তা উন্নত করতে পারে।